Multichannel Temperature Sensors Meet Automotive Needs
Temperature is the most commonly measured physical variable, and with good reason: Knowing temperature facilitates optimization of electrical, mechanical, and chemical performance in systems, as well as provides alerts for potential and actual fault conditions. Unlike a room in a house with a single sensor, today’s complex systems—including automobiles—need to sense multiple points to monitor and control their many functional subsystems and features.
Many obvious and less-obvious points need attention, such as HID lamps, advanced driver-assistance systems (ADAS), automotive servers, video-processing functions, infotainment systems, engine control, telematics, and body electronics (e.g., seat control, lighting systems, mirror control, and power windows)… it’s a long list that adds up quickly.
Sensors Support Up to Five Monitoring Channels
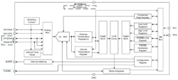
Addressing this need, Microchip Technology introduced a family of 10 automotive-qualified temperature-sensor interface ICs. The MCP998X/MCP9933/MCP998XD/MCP9933D are high-accuracy multichannel devices with support for up to five channels of monitoring and several alert and shutdown options for security (Fig. 1).
1. Microchip’s MCP998X/MCP9933/MCP998XD/MCP9933D family has 10 similar, overlapping devices. Shown is the block diagram for the MCP9985 and MCP9933 members.
The ICs use the 2-wire I2C/SMBus communication protocol (1.8- and 3.3-V levels). Monitoring temperatures at multiple locations with a single, integrated temperature sensor reduces board complexity and size while simplifying design and shrinking the bill of materials (BOM).
Also interesting is that the family includes five sensors with shutdown temperature setpoints that are designed to not be overwritten by software or maliciously disabled—an important consideration for both safety and security reasons. (Of course, non-automotive designers can consider this part as well, as its ubiquitous functionality isn’t restricted to autos only.)
REC, Beta Compensation Key for High Accuracy in Complex Apps
Achieving the specified ±1°C measurement accuracy over −40 to +125°C range for both external and internal diode sensing of temperature requires an understanding of their physics-driven sources of error (Fig. 2). For the devices in this family, advanced features such as resistance error correction (REC), beta compensation (to support CPU diodes requiring the BJT/transistor model), and automatic diode-type detection combine to provide a robust solution for complex environmental monitoring applications.
2. Accuracy performance: On the left is internal temperature monitor accuracy vs. ambient temperature (120 units); on the right is external temperature accuracy vs. diode temperature (VDD = 3.3 V, 116 units, TAMB = Text).
REC automatically eliminates the temperature error caused by series resistance, thus allowing for greater flexibility in routing thermal diodes. Beta compensation eliminates temperature errors caused by the low, variable beta transistors common in today's fine-geometry processes. The automatic beta detection feature monitors the external diode/transistor and determines the optimum sensor settings for accurate temperature measurements regardless of processor technology.
The 75-page datasheet fully describes setup and operation with some schematic-diagram examples, (Fig. 3). It also includes a large table that clarifies the distinct feature differences between the 10 devices, which is more than just channel count. Operating voltage is 1.7 to 3.6 V, with operating current under 1 mA and standby current is less 30 µA (typical) and 85 µA (maximum). The family of ICs comes in a variety of tiny housings, including 8-lead MSOP, 10-lead MSOP, 10-lead VDFN, and 8-lead WDFN packages.
3. In a representative application, the measured temperature is used by an associated processor that decides whether to activate a fan.
Eval Board with Address Decode
While the principle of diode-based temperature measurement is simple enough, execution using these sophisticated ICs entails attention to detail and understanding of their many internal configuration readback registers. To ease the process, Microchip offers the EV23P16A evaluation board ($34) (Fig. 4).
4. The EV23P16A evaluation board speeds setup and assessment of the temperature-measurement arrangement.
It connects to a PC via the supplied micro-USB cable and is fitted with the MCP9984-A version, which features SMBus address decode functionality. Also included in the kit are two 2N3904 transistors to function as diode-connected temperature sensors (Fig. 5).
5. The evaluation kit includes the USB cable as well as two common transistors that are connected to function as temperature-sensing diodes.
The address decode feature enables the device to change SMBus client address upon power-up based on a pull-up resistor connected to the THERM/ADDR pin. This EVB uses the Thermal Management Utility to easily communicate with the device and log temperature readings via a PC; all this and more is detailed in a 37-page User’s Guide.
About the Author

Bill Schweber
Contributing Editor
Bill Schweber is an electronics engineer who has written three textbooks on electronic communications systems, as well as hundreds of technical articles, opinion columns, and product features. In past roles, he worked as a technical website manager for multiple topic-specific sites for EE Times, as well as both the Executive Editor and Analog Editor at EDN.
At Analog Devices Inc., Bill was in marketing communications (public relations). As a result, he has been on both sides of the technical PR function, presenting company products, stories, and messages to the media and also as the recipient of these.
Prior to the MarCom role at Analog, Bill was associate editor of their respected technical journal and worked in their product marketing and applications engineering groups. Before those roles, he was at Instron Corp., doing hands-on analog- and power-circuit design and systems integration for materials-testing machine controls.
Bill has an MSEE (Univ. of Mass) and BSEE (Columbia Univ.), is a Registered Professional Engineer, and holds an Advanced Class amateur radio license. He has also planned, written, and presented online courses on a variety of engineering topics, including MOSFET basics, ADC selection, and driving LEDs.





