Module Integrates 3D Time-of-Flight Sensor
Check out more Sensors Converge coverage.
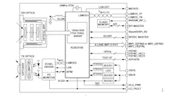
3D time-of-flight (ToF) sensors provide fast, 3D vision systems for machine vision, robots, building-automation systems, and augmented-reality systems. Along those lines, Analog Devices packed its 3D ToF platform into a compact module, the ADTF3175 (Fig. 1).
In the video, Erik Barnes shows off the power-efficient, 1-Mpixel, 3D TOF sensor in the company's eval module. The module is built into a custom, handheld capture system.
The ADTF3175 chip has 1k × 1k resolution with a 75-degree field of view (Fig. 2). The imager lens integrates a 940-nm bandpass filter. It has a 4-lane, 1-Gb/s MIPI CSI-2 interface and 2-/4-wire SPI interface. Depth range spans from 0.4 to 4 m with a depth accuracy of 3 mm.
About the Author
William G. Wong
Senior Content Director - Electronic Design and Microwaves & RF
I am Editor of Electronic Design focusing on embedded, software, and systems. As Senior Content Director, I also manage Microwaves & RF and I work with a great team of editors to provide engineers, programmers, developers and technical managers with interesting and useful articles and videos on a regular basis. Check out our free newsletters to see the latest content.
You can send press releases for new products for possible coverage on the website. I am also interested in receiving contributed articles for publishing on our website. Use our template and send to me along with a signed release form.
Check out my blog, AltEmbedded on Electronic Design, as well as his latest articles on this site that are listed below.
You can visit my social media via these links:
- AltEmbedded on Electronic Design
- Bill Wong on Facebook
- @AltEmbedded on Twitter
- Bill Wong on LinkedIn
I earned a Bachelor of Electrical Engineering at the Georgia Institute of Technology and a Masters in Computer Science from Rutgers University. I still do a bit of programming using everything from C and C++ to Rust and Ada/SPARK. I do a bit of PHP programming for Drupal websites. I have posted a few Drupal modules.
I still get a hand on software and electronic hardware. Some of this can be found on our Kit Close-Up video series. You can also see me on many of our TechXchange Talk videos. I am interested in a range of projects from robotics to artificial intelligence.


